Molimo unesite svoje kontaktne podatke i dodatnu poruku.
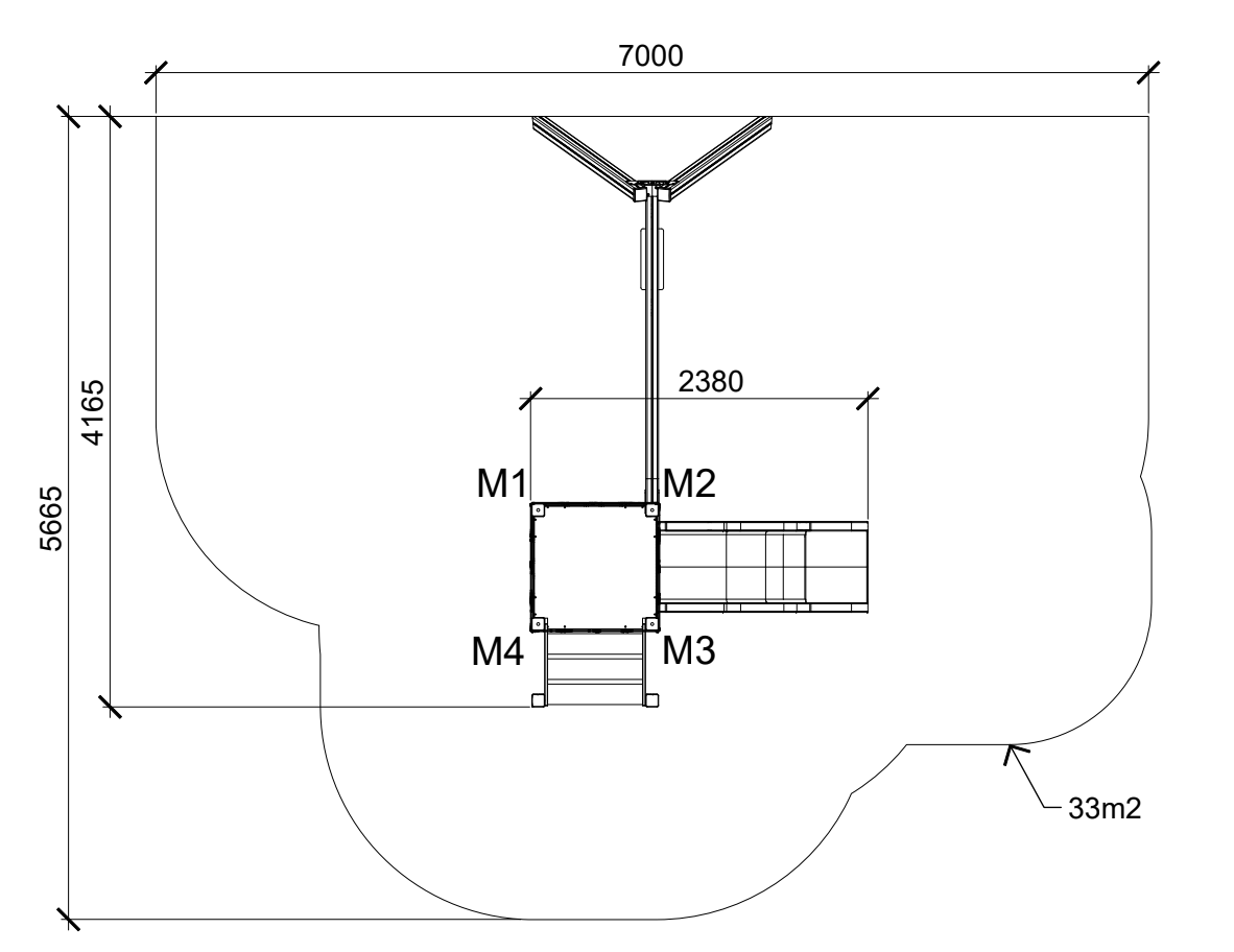
A7503 – SOPHIA
SOPHIA je igrališni set osmišljen za razvoj ravnoteže, koordinacije i snage kroz aktivnu igru. Zahvaljujući kvalitetnim materijalima, element je izuzetno otporan i siguran za svakodnevnu upotrebu.